ABS tööpõhimõte


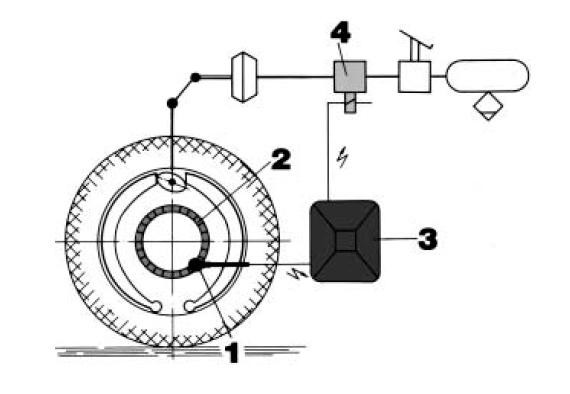
Sele 52. ABS tööpõhimõte (allikas: WABCO)

Paigal seisev pöörlemissageduse andur (1) jälgib poolusketta (2) kaudu igal ajahetkel ratta pöörlemiskiirust ja edastab elektrilise impulsi juhtplokki (3), kus selle alusel arvutatakse ratta pöörlemisele vastav sõiduki liikumiskiirus. Juhtplokk saab infot ka võrreldava kiiruse kohta, mis on ligikaudu võrdne sõiduki mõõdetud kiirusega. Kui need kiirused ei ole vastavuses ehk ratas kaldub lohisema, piiratakse või vähendatatakse rõhureguleerimisklapi (4) abil kiiresti õhu rõhku pidurikambris. Kui haardetingimused paranevad, tõstetakse rõhureguleerimisklapi kaudu uuesti pidurdusrõhku. Juhtplokk püüab tagada ratta stabiilset pidurdamist korrates reguleertsüklit sagedusega kuni 3...5 tsüklit sekundis.